AER20x15.4x13.5 (OD=20.0mm x ID=15.4mm x H=13.6mm)
KEMET-TOKIN - Resin Coated Multilayer Piezoelectric Ring Actuators
|
|
AER20x15.4x13.6 - Thin Coating5-9 units: $850.00 (MOQ - 5 units) 10-99 units: $695.00 >100 units: Request a quote |
Spec Sheet for AER20x15.4x13.5DF
STEP File for AER20x15.4x13.5DF
Specifications
| Item | Standard | Conditions> |
|---|---|---|
| Operating temperature range | -25 to +85°C |
When applied with a DC voltage: Ambient temperature
When driven by an AC voltage: Ambient temperature + Temperature rise due to generated heat
|
| Recommended Storage Condition | -5 to +40°C / less than 40% R.H. | Recommended storage to be at room temperature. No condensation |
| Maximum driving voltage | 150V DC | |
| Displacement | 13.2±2.0µm | At 150V DC |
| Blocked Force | 4200 N | Force required for restricting the displacement to 0 when the maximum driving voltage is applied. |
| Capacitance | 5.3 µF ± 20% |
f = 1 kHz, V = 1 Vrms (< 10 µF)
f = 120 Hz, V = 1 Vrms (> 10 µF)
|
| Dissipation Factor | 5% or less | |
| Insulation Resistance | 2 MOhm | Value obtained in 1 minute at 150V DC |
| Resonance Frequency | 102 kHz | With both ends of the actuator in free state. |
| Tensile strength | 1/10 of generated force | Typical value of the element under standard factory test conditions |
| Young's Modulus | 4.4x1010 N/m2 | Typical value of the element under standard factory tests conditions |
| Temperature Cycle Test |
Displacement: Initial value ± 20%
Capacitance: Initial value ± 30%
Tan Delta: Less than initial rated value
Insulation resistance: 1MOhm or more
Apperance: No noticeable defect
|
Room temperature (3 min)
-25°C (30 min)
Room temperature (3 min)
+85°C (30 min)
Repetition of 10 cycles of the above
|
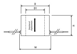
Outer Dimensions
|
|
AER20x15.4x13.5 D = 20.0±0.1 mm
D1 = 15.4±0.1 mm
H = 13.5±0.1 mm
W = 23.0 mm max.
Wire length = 100mm
|
Wire Dimmensions
![]() |
d = 0.5 mm
D = 0.8 mm
Length of wire: 100 mm
AWG: 26
UL number: 1993
Factory-shipped polarization:
RED lead wire = (+) POSITIVE
WHITE lead wire = (-) NEGATIVE
Wire: Copper wire with Tin plating
Coating: PTFE (Polytetrafluoroethylene)
|






